Infos
Industriequalität, 3 Arme für optimale Lastverteilung, kippsicher und materialschonend
Kräftige, ergonomisch geformte Traverse
Haken glühend im Gesenk geschmiedet
Abzughaken mit bewährter Schraubverbindung für eine kraftschlüssige Verbindung
Durch Umstecken der Haken als Innenabzieher verwendbar
Nitrocarburierte Spindeloberfläche, verschleissfest und korrosionsbeständig
Spindel bleibt leichtgängig und sauber – fetten oder ölen nicht notwendig
Traverse kombinierbar mit weiteren Spindel-/ Hakenausführungen und -längen aus dem GEDORE Abzieher-Baukasten
Kräftige, ergonomisch geformte Traverse
Haken glühend im Gesenk geschmiedet
Abzughaken mit bewährter Schraubverbindung für eine kraftschlüssige Verbindung
Durch Umstecken der Haken als Innenabzieher verwendbar
Nitrocarburierte Spindeloberfläche, verschleissfest und korrosionsbeständig
Spindel bleibt leichtgängig und sauber – fetten oder ölen nicht notwendig
Traverse kombinierbar mit weiteren Spindel-/ Hakenausführungen und -längen aus dem GEDORE Abzieher-Baukasten
- 3D-Daten vorhanden: Nein
- Abrutschsicherung an der Spindel vorhanden: Nein
- Anzahl der Arme: 3
- Haken parallel verschiebbar: Nein
- Hakenbremse vorhanden: Nein
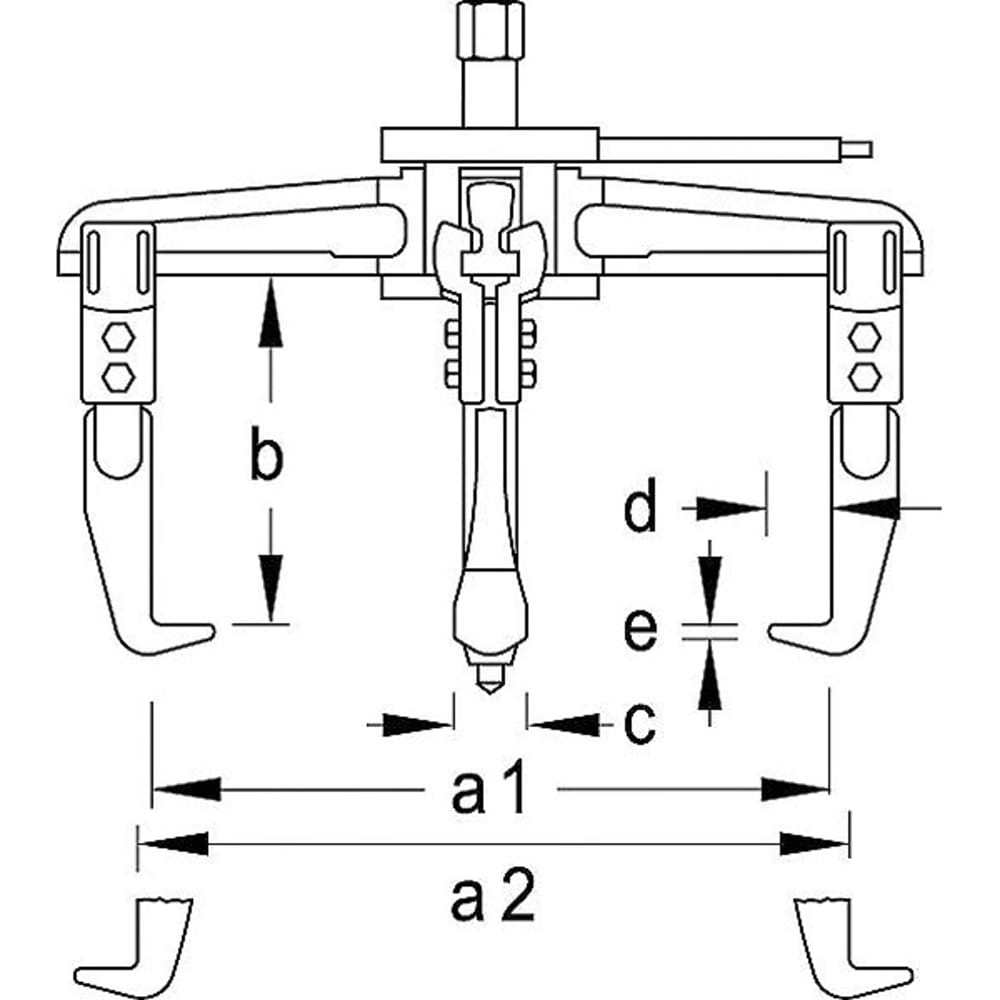
- Hakenfussbreite an der Nutzfläche c1 [mm]: 36 mm
- Hakenfussstärke an der Spitze e1 [mm]: 6,5 mm
- Hakenfusstiefe nutzbar d2 [mm]: 28 mm
- Hydraulikspindel optional: 1.06/HSP3
- Hydraulikspindel vorhanden: Nein
- Inhalt (Anzahl Stück): 1 tlg.
- Nachrüstbar mit Hydraulikspindel: Ja
- Netto-Gewicht [g]: 21200 g
- Netto-Gewicht [kg]: 21,2 kg
- REACH Registrierung vorhanden: Nein
- Schlüsselweite Betätigungssechskant: 36 mm
- Schnellspannhebel vorhanden: Nein
- Schrauben inklusive: Nein
- Skaleneinteilung vorhanden: Nein
- Spannbügel vorhanden: Nein
- Spanntiefe nutzbar b [mm]: 300 mm
- Spannweite Aussenabziehen (max.) [mm]: 450 mm
- Spannweite Aussenabziehen (min.) [mm]: 150 mm
- Spannweite Innenabziehen a2 (max.) [mm]: 530 mm
- Spannweite Innenabziehen a2 (min.) [mm]: 270 mm
- Spindel Abrutschsicherung: Nein
- Spindel Gewindegrösse: G 1 x 360
- umdrehbare Arme vorhanden: Nein
- Ursprungsland: Deutschland
- Zolltarifnummer: 82055980
- Zugkraft (max.) [t]: 10 t
Technische Daten
| Name | Wert |
|---|---|
| % SALE % | Nein |
| Gewinde | G 1 x 360 |
| Marke | GEDORE |
| Spanntiefe nutzbar (mm) | 300 |
| Spannweite max (mm) | 450 |
| SW Betätigungssechskant (mm) | 36 |
| Typ | 1.07/4-3 |
| Zugkraft (t) | 10 |


