Multitimer 24V/10A einstellbar
- Netto exkl. MwSt.:
CHF 159.00 / 1 Stk
- UVP inkl. MwSt.:
CHF 171.88 / 1 Stk
- Rabattgruppe:
- 124
- Mindestbestellmenge:
- 1
Stk
- Verpackungseinheit:
- 1
Stk
- Art.-Nr.:
- F7 300 71
- Verfügbarkeit:
Ab Lager
Infos
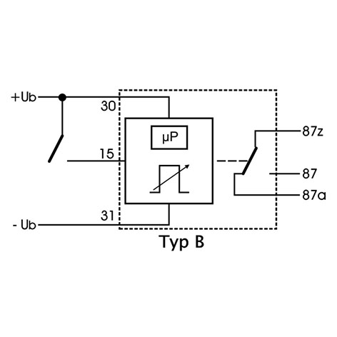
- Zeitrelais Multitimer, einstellbar mit Poti und Schalter, Relaiskontakte potentialfrei, pos. getriggert, 1 Eingang.
- Zeit- / Funktionstabelle:
- Abfallverzögert
- 0 0,5 ... 10 Sek.
- 1 5 ... 60 Sek.
- 2 0,5 ... 10 Min.
- 3 5 ... 60 Min.
- 4 0,5 ... 6 Std.
- Anzugverzögert
- 5 0,5 ... 6 Std.
- 6 5 ... 60 Min.
- 7 0,5 ... 10 Min.
- 8 5 ... 60 Sek.
- 9 0,5 ... 10 Sek.
- Anzugverzögert:
- Bei Anlegen einer Steuerspannung an dem Pin 15 zieht das Relais nach Ablauf der voreingestellten Zeit an.
- Wird das Steuersignal getrennt so fällt das Relais sofort ab.
- Abfallverzögert: Wird ein Steuersignal an dem Pin 15 angelegt, so zieht das Relais sofort an.
- Wird das Steuersignal getrennt, so fällt das Relais nach der voreingestellten Zeit ab.
- Technische Daten:
- Nennspannung: 24 V
- Ruhestrom: <100µA
- Toleranz: 5 %
- Zeitbereich: 0,5sec - 6h
- Betriebstemp: -40°C - 85°C
- Schutzart: IP52
- Gewicht (g): 30
Technische Daten
| Name | Wert |
|---|---|
| % SALE % | Nein |
| Ampere | 10 |
| Breite (mm) | 30 |
| Höhe (mm) | 50 |
| Länge (mm) | 30 |
| Typ | ZRPS.251.001.00 |
| Volt | 24 |





